Vacuum Tube Tester Hickok TV−2C/U 備品修理記録
「整流管83」、「整流管5Y3GT」をダイオードに単純に交換すると、電源が強化する事になり、相互コンダクタンスの測定には信頼性(精度)が増すことになります。 しかし、チャートのAver.Mut.Cond.とは誤差がでます。又、他の試験方法にも誤差がでます。よって、回路の変更、全体的な調整・校正が必要となります。
A. 修理前の状況
B. 修理・調整前の測定

K. ケース修理の状況

C. 改造・修理・清掃状況
  • 電源コードを交換する。
    プレートキャップとグリッドキャップコードはコネクター式に変更。
    「整流管83」と「整流管6X4」をダイオードに置き換える。
    トランス2個にそれぞれポリSWを取り付ける。(1.5Aで遮断する)
    メータに、保護ダイオード取り付け。
    高Gm管測定時の、発振防止対策。
    プレート電流測定可能に改造。

E. Gm直読み最終校正・測定

F. 高Gm管、高出力管のGm測定

G. 最近の出力真空管 「Gm & Ip」 測定

J. YAHOOオークションで購入「6G−B8」12本+手持ち「6G−B8」13本の「Gm & Ip」測定

H. 変更回路図

A. 修理前の状況。
A1. 上蓋内側。
A12. ロール(チャート)のハンドル・ホイールが逆付け。
A2. パネル。
A22. メータ類は封印されている
A3. 太く・堅い電源コード
A32. 電源コードの付け根の被服が剥けている
A33. 「プレートキャップコード」と「グリッドキャップコード」 はコネクター方式に変更する
A4. パネル裏。 スペア真空管は無い。
A42. パネル裏。 下から見る
A43. パネル裏。 上から見る、電解コンデンサーはピカピカ!
A44. 挟まっていた配線
A45. 挟まっていた配線のケースゴム上痕跡
A5. 下ケース内側。 配線図は張って無い。
A6. 1960年代の水銀たっぷり入った「整流管83」、と ヒーター絶縁型「整流管6X4W」
B. 修理・調整前の測定。
B11. FilamentVolt=0.625V
B12. FilamentVolt=2.5V
B13. FilamentVolt=7.5V
B14. FilamentVolt=25V
B15. FilamentVolt=70V
B16. FilamentVolt=117V
B21. PlateVolt=250V
B22. PlateVolt=100V
B23. PlateVolt=AC35V
B24. PlateVolt=AC22V
B31. ScreenVolt=250V
B32. ScreenVolt=150V
B33. ScreenVolt=90V
B41. BiasVolt=−50V
B42. BiasVolt=−10V
B43. BiasVolt=−5V
B51. SignalVolt=0.25V(Gm−SignalRange=A、B、C)
B52. SignalVolt=0.5V(Gm−SignalRange=D)
B53. SignalVolt=2.5V(Gm−SignalRange=E)
K. ケース修理の状況。
K11. 修理前。 上から見る
K12. 修理前。 上から見る
K13. 修理後。 上から見る
K14. 修理前。 前左上から見る
K15. 修理後。 前左上から見る
K16. 修理前。 後右上から見る
K17. 修理後。 後右上から見る
K21. 修理前。 下から見る
K22. 修理後。 下から見る
K23. 修理前。 後下から見る
K24. 修理後。 後下から見る
K25. 修理前。 後左下から見る
K26. 修理後。 後左下から見る
K27. 修理前。 前右下から見る
K28. 修理後。 前右下から見る
K29. 修理後。 取っ手も補強する。
C. 改造・修理・清掃状況。
C11. 修理前。 太く・堅い電源コード。
C12. 修理後。 太く・堅い電源コードを交換する。
C21. 修理前。 「プレートキャップコード」と「グリッドキャップコード」。
C22. 修理後。 「プレートキャップコード」と 「グリッドキャップコード」 はコネクター方式に変更。
C23. 修理後。 アースラグ端子を取り付ける、何かと重宝!
C31. 修理後。 「PercentQualityMeter」、 「PlateVoltMeter」に保護ダイオード挿入
C41. 修理中。 メータはシ−ルされている
C42. 修理中。 カウルの凹み修理
C43. 修理中。 カウルの塗装
C44。 修理中 ついでに、止めネジも塗装する
C45. 修理中。 ついでに、パネル止めネジも塗装する
C51. 修理後。 「整流管83」、「整流管6X4」をダイオードに置き換える。
             これで、電源100Vでもプレート電圧250Vに到達する。 但し、下記の様に改造・調整が必要です。
C61. 修理後。 空いている(未使用)の多分ノイズ端子のソケット? を利用して、プレート電流を測定する。
             シャント抵抗が50Ωなので、5.0V=100mAとなる
C62. 修理中。 プレート安全抵抗は少し焼けていたが、47Ωが31Ωに変化していた! 50Ωに交換する。
C63. 修理中. 普通抵抗は焼けると増が? これは「31Ω」!
C71. 修理中。 前面パネルの曲がり取り。 機器に衝撃を与えないように、万力で行う。
C81. 修理後。 RollChartHousingAssembly分解・清掃・調整・給油する。
C82. 修理後。 RollChartHousingAssembly分解・清掃・調整・給油する。
C91. 修理前 取っ手。
C92. 修理中 取っ手、 軸受けにテフロンライナーを取り付け。
C93. 修理後 取っ手。
CA1. 「整流管83」、「整流管6X4」をダイオードに交換しましたので以下の確認・調整が必要です
       1. Filament Voltage=電圧の確認する。
       2. Plate Voltage= G・H・J=250V、K・L・M=125V、N=O=90V,Q=62.5V。
                        AC電圧は下記。
       3. Screen Voltage G=DC250V〜225V、H・K=180V、J・L=135V,M・N=90V、P=45V。
       4. Grid Bias Voltage 50Vレンジ=−50Vmax、10Vレンジ=−10Vmax、5Vレンジ=−5Vmax 。
       5. Grid Signal Voltage A・B・C=AC0.25V、D=AC0.5V、E=AC2.5V。
       6a. Rectifirt Test Voltage AC20V=以下の様にゼナーダイオード+ダイオード挿入(下写真右下2個)
       6b. Rectifirt Test Voltage AC35V=以下の様にゼナーダイオード+ダイオード挿入(下写真左上1個)
          左下端の丸い黄色いのはポリSWで1.5Aで遮断する。
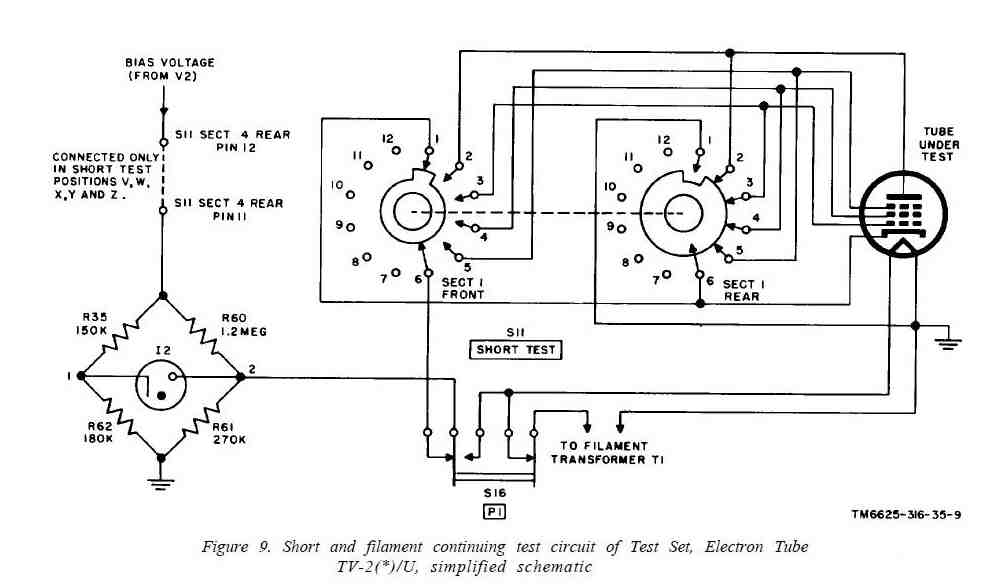
       7. Short Test Voltage=ShortTest SW Sect4Rear No11と抵抗「R35」の間に抵抗を挿入して調整する。
       8. その他改造場所。
        a. 節電の為、Filamentトランス1次に挿入してある1KΩをはずす。 但し、調整は真空管挿入後行う事。
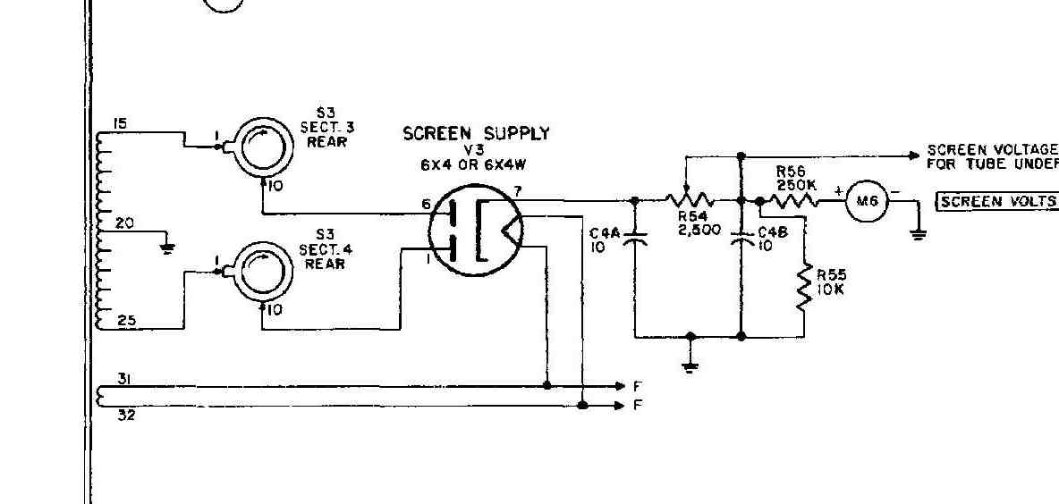
        b. 電圧調整範囲の拡大の為、Screen調整VR(R54)と10KΩ(R55)を直列に接続する。
CA2. ヒータトランスに挿入したポリSWで1.2Aで遮断する。
K1. 完成。  シャーシ裏を見る。 
    戦争の道具として意に沿わず従軍した「労苦」を労い、「還暦」を迎えられるよう、アルミや鉄部に錆止めを塗布。
「労苦」=It has had a hard time putting years though the fatigue of "Fatigue" is the same meaning as 'Hardship'.
Especially, when showing appreciation for pains for the elder etc. , it uses it.
「還暦」=The sexagenary cycle (ten drying up twelve zodiacal signs) comes back, and it ..the 60th birthday (.. returns to year's sexagenary cycle that became a reckoning point again with [kanreki]).
K2. 完成。  シャーシ裏を前から見る。
K3. 完成。  シャーシ裏を右から見る。
K4. 完成。  シャーシ裏を左から見る。
K5. 完成。  シャーシ裏を後から見る。
E. Gm直読み最終校正・測定。
使用出来る設定
Gm−SignalRangeSW Gm−CalibrationShuntVR FullScale(読み倍率)
A 55 30,000μmho(200倍
37.5 15,000μmho(100倍)
37 7,500μmho(50倍)
51 6,000μmho(40倍)
86 3,000μmho(20倍)
51 3,000μmho(20倍)
86 1,500μmho(10倍)
51 600μmho(4倍)
86 300μmho(2倍)
           Gm−CalibrationShuntVRの設定は機種により、±1の誤差あり

Gm−Calibration電圧の設定。
 絶縁トランスで50V(75V)を発生させる。 抵抗は「10KΩ、20KΩ、100KΩ」を使用する。
Range Shunt FullScale  FullScale(150) Scale=100
55 30,000μ(200倍) 7.5mA-10KΩ/75V 5mA-10KΩ/50V
37.5 15,000μ(100倍) 3.75mA-20KΩ/75V 2.5mA-20KΩ/50V
86 3,000μ(20倍) 0.75mA-100KΩ/75V 0.5mA-100KΩ/50V
86 1,500μ(10倍)
86 300μ(2倍)
操作を誤ると殆ど入手不可のメータ(PercentQualityMeter)が死にます! 十二分に注意して下さい。
E22. Gm−Calibration−Test.。
     Gm−SignalRangeSW=「A」。 Gm−CalibrationShuntVR=55=30,000μmho−FullScale(200倍読)。
            「7.5mA-10KΩ/75V」
E23. Gm−Calibration−Test。
     Gm−SignalRangeSW=「B」。 Gm−CalibrationShuntVR=38=15,000μmho−FullScale(100倍読)。
            「3.75mA-20KΩ/75V」
E24. Gm−Calibration−Test。
     Gm−SignalRangeSW=「C」。 Gm−CalibrationShuntVR=87.5=3,000μmho−FullScale(20倍読)。
   同時に、Gm−SignalRangeSW=「D」。 Gm−CalibrationShuntVR=87.5=1,500μmho−FullScale(10倍読)。
     Gm−SignalRangeSW=「E」。 Gm−Calibration ShuntVR=87.5=300μmho−FullScale(2倍読)。
        「0.75mA-100KΩ/75V」
F. 高Gm管、高出力管のGm測定。
F11. 「6DJ8(ECC88)」 の測定。
真空管ハンドブック(規格表)の相互コンダクタンス=12250μmho「Ep=90V、Ip=15mA、eg1=−1.3V」
1960/1962ナショナル真空管ハンドブック、全日本真空管マニュアル、オーディオ用真空管マニアル、69'東芝電子管ハンドブック、RC-30 Receiving Tube Manualより。
F12. RangeSW=B。
        高Gm管「6DJ8」測定。 Gm=15000μmho、Ip=1.29/50=25.9mA。
                 測定条件、  「Ep=90V、Eg1=−1.3」
F13. RangeSW=A。
        高Gm管「6DJ8 2本目」測定。 Gm=15000μmho、Ip=1.28/50=25.6mA。
                 測定条件、  「Ep=90V、Eg1=−1.3」
F14. 「6DJ8−2本目」入出力波形測定。 下=グリッド電圧、上=プレート電圧。
F21. 「6EJ7(EF184)」 の測定
     真空管ハンドブック(規格表)の値。

       相互コンダクタンス=15000μmho「Ep=200V、Ip=10mA、eg1=−2.5V」(1960/1962ナショナル真空管ハンドブックより)、(全日本真空管マニュアル、オーディオ用真空管マニアルより)、(69'東芝電子管ハンドブックより)
       相互コンダクタンス=12250μmho「Ep=200V、Ip=10mA、eg1=−2.5V」(RC-26,RC-30 Receiving Tube Manualより)
F22. 高Gm管「6EJ7」測定。 Gm=11500μmho、Ip=0.334/50=6.7mA。
                 測定条件、  「Ep=Esg=200V、Eg1=−2.5」
F23. 高Gm管「6EJ7 2本目」測定。 Gm=11000μmho、Ip=0.29/50=5.8mA。
                 測定条件、  「Ep=Esg=200V、Eg1=−2.5」
F24. 高Gm管「6EJ7 3本目」測定。 Gm=9400μmho、Ip=2.019/50=42.4mA。
                 測定条件、  「Ep=Esg=200V、Eg1=−2.5」
F25. 「6EJ7」測定の入出力波形。 下=グリッド電圧、上=プレート電圧。
F31. 「6BQ5(EL84)」 の測定。
      真空管ハンドブック(規格表)の相互コンダクタンス=11300μmho
「Ep=Esg=250V、Ip=48mA、eg1=−7.3V」
1960/1962/1964/1966ナショナル真空管ハンドブック、1995オーディオ用真空管マニアル、60/62/69東芝電子管ハンドブック、1962日立電子管ハンドブック、1965/1971全日本真空管マニュアル、RC15/19/26/27/28/29/30 Receiving Tube Manual、1966/実用真空管ハンドブック、1995世界の真空管カタログより。
F32. 「6BQ5」測定。 Gm=9400μmho、Ip=1.93/50=38.6mA。
                 測定条件、  「Ep=250V、Esg=250V、Eg1=−7.3V」
F33. 「6BQ5−2本目」測定。 Gm=9900μmho、Ip=2.285/50=45.7mA。
                 測定条件、  「Ep=250V、Esg=250V、Eg1=−7.3V」
F34. 「6BQ5」測定の入出力波形。 下=グリッド電圧、上=プレート電圧。
F41. 「6G−B8」 の測定。
   真空管ハンドブック(規格表)の相互コンダクタンス=20000μmho
   「Ep=250V、Esg=250V、Ip=140mA、Eg1=−8V」
1966実用真空管ハンドブック、1965/1971全日本真空管マニュアル、1995オーディオ用真空管マニアル、60/62/69東芝電子管ハンドブック、1995世界の真空管カタログより。
         下記2本は外観は、非常によく似ているが、測定結果は異なる。
F42. 高出力管「6G−B8」測定。 Gm=24000μmho、Ip=176mA。
                 測定条件、  「Ep=250V、Esg=250V、Eg1=−8V」
F43. 高出力管「6G−B8 2本目」測定。 Gm=19000μmho、Ip=126mA。
                 測定条件、  「Ep=250V、Esg=250V、Eg1=−8V」
G. 最近の出力真空管 Gm & Ip 測定。
G1. 「electro−harmonix 6550EH」 4本(2ペア)
    Ep=420V、G2=420V、Eg1=−48V、Ip=70〜72mA、Isg=7.4〜9.2mAの測定結果付き
    真空管ハンドブック(規格表)の相互コンダクタンス=11500μmho
    「Ep=Esg=250V、Ip=140mA、Eg1=−15V」
1960/1962/1964/1966ナショナル真空管ハンドブック、1995オーディオ用真空管マニアル、60/62/69東芝電子管ハンドブック、1962日立電子管ハンドブック、1965/1971全日本真空管マニュアル、RC15/19/26/27/28/29/30 Receiving Tube Manual、1966/実用真空管ハンドブック、1995世界の真空管カタログより。
G11. 1本目electro−harmonix 6550EH。  Gm=12000μ、Ip=130mA。
                 測定条件、   「Ep=250V、Eg2=250V、Eg1=−15V」
G12. 2本目electro−harmonix 6550EH。  Gm=10700μ、Ip=122.8mA。
                 測定条件、   「Ep=250V、Eg2=250V、Eg1=−15V」
G13. 3本目electro−harmonix 6550EH。  Gm=10800μ、Ip=121.3mA。
                 測定条件、   「Ep=250V、Eg2=250V、Eg1=−15V」 
G14. 4本目electro−harmonix 6550EH。  Gm=11000μ、Ip=121.9mA。
                 測定条件、   「Ep=250V、Eg2=250V、Eg1=−15V」
G2. 「Svetlana KT88」 4本(2ペア)。
    Ep=450V、Eg2=450V、Eg1=−48V、Ip=79〜80mA、Isg=8.7〜8.9mAの測定結果付き。
    真空管ハンドブック(規格表)の相互コンダクタンス=11500μmho
    「Ep=Esg=250V、Ip=140mA、Eg1=−15V」
1960/1962/1964/1966ナショナル真空管ハンドブック、1995オーディオ用真空管マニアル、60/62/69東芝電子管ハンドブック、1962日立電子管ハンドブック、1965/1971全日本真空管マニュアル、RC15/19/26/27/28/29/30 Receiving Tube Manual、1966/実用真空管ハンドブック、1995世界の真空管カタログより。
G21. 1本目Svetlana KT88。  Gm=10700μ、Ip=117.5mA。
                 測定条件、   「Ep=250V、Eg2=250V、Eg1=−15V」
G22. 2本目Svetlana KT88。  Gm=11200μ、Ip=114.7mA。
                 測定条件、   「Ep=250V、Eg2=250V、Eg1=−15V」
G23. 3本目Svetlana KT88。  Gm=12000μ、Ip=116mA。
                 測定条件、   「Ep=250V、Eg2=250V、Eg1=−15V」
G24. 4本目Svetlana KT88。  Gm=8500μ、Ip=99.7mA。
                 測定条件、   「Ep=250V、Eg2=250V、Eg1=−15V」
G3. 「SOVTEC 6L6WXT」 4本(2ペア)。
    真空管ハンドブック(規格表)の相互コンダクタンス=6000μmho
    「Ep=250V、Esg=250V、Ip=72mA、Eg1=−14V」
1960/1962/1964/1966ナショナル真空管ハンドブック、1995オーディオ用真空管マニアル、60/62/69東芝電子管ハンドブック、1962日立電子管ハンドブック、1965/1971全日本真空管マニュアル、RC15/19/26/27/28/29/30 Receiving Tube Manual、1966/実用真空管ハンドブック、1995世界の真空管カタログより。
G31. 1本目SOVTEC 6L6WXT。  Gm=5500μ、Ip=42.5mA。
                 測定条件、 「Ep=230V、Eg2=225V、Eg1=−14V」
G32. 2本目SOVTEC 6L6WXT。  Gm=5500μ、Ip=43.1mA。
                 測定条件、   「Ep=230V、Eg2=225V、Eg1=−14V」
G33. 3本目SOVTEC 6L6WXT。  Gm=5700μ、Ip=46mA。
                 測定条件、   「Ep=230V、Eg2=225V、Eg1=−14V」
G34. 4本目SOVTEC 6L6WXT。  Gm=5900μ、Ip=47.5mA。
                 測定条件、   「Ep=230V、Eg2=225V、Eg1=−14V」
G4. 「JJ EL34」 4本(2ペア) 
    Ep=250V、Eg2=250V、Eg1=−14.5V、Ip=73〜74mA、Isg=9.7〜9.8mAの測定結果付き。
    真空管ハンドブック(規格表)の相互コンダクタンス=11000μmho
    「Ep=250V、Esg=250V、Ip=70mA、Eg1=−14V」
1960/1962/1964/1966ナショナル真空管ハンドブック、1995オーディオ用真空管マニアル、60/62/69東芝電子管ハンドブック、1962日立電子管ハンドブック、1965/1971全日本真空管マニュアル、RC15/19/26/27/28/29/30 Receiving Tube Manual、1966/実用真空管ハンドブック、1995世界の真空管カタログより。
G41. 1本目JJ EL34。  Gm=10700μ、Ip=62.9mA。
                 測定条件、   「Ep=250V、Eg2=250V、Eg1=−14.5V」
G42. 2本目JJ EL34。  Gm=11000μ、Ip=61.7mA。
                 測定条件、   「Ep=250V、Eg2=250V、Eg1=−14.5V」
G43. 3本目JJ EL34。  Gm=10200μ、Ip=61.9mA。
                 測定条件、   「Ep=250V、Eg2=250V、Eg1=−14.5V」
G44. 4本目JJ EL34。  Gm=10000μ、Ip=59.5mA。
                 測定条件、   「Ep=250V、Eg2=250V、Eg1=−14.5V」
G5. 「JJ EL34L」 4本(2ペア)。
      38/7500 多分TV−7での測定? 「TV−7」での測定値38=9500が正しい!
      TV−7の測定条件「Ep=170V、Eg2=150V、Eg1=?V」
    真空管ハンドブック(規格表)の相互コンダクタンス=11000μmho
    「Ep=250V、Esg=250V、Ip=70mA、Eg1=−14V」
1960/1962/1964/1966ナショナル真空管ハンドブック、1995オーディオ用真空管マニアル、60/62/69東芝電子管ハンドブック、1962日立電子管ハンドブック、1965/1971全日本真空管マニュアル、RC15/19/26/27/28/29/30Receiving Tube Manual、1966/実用真空管ハンドブック、1995世界の真空管カタログより。
G51. 1本目JJ EL34L。  Gm=11700μ、Ip=69.1mA。
                 測定条件、   「Ep=250V、Eg2=250V、Eg1=−14.5V」
G52. 2本目JJ EL34L。  Gm=11800μ、Ip=70.5mA。
                 測定条件、   「Ep=250V、Eg2=250V、Eg1=−14.5V」
G53. 3本目JJ EL34L。  Gm=12200μ、Ip=74.8mA。
                 測定条件、   「Ep=250V、Eg2=250V、Eg1=−14.5V」
G54. 4本目JJ EL34L。  Gm=11900μ、Ip=69.5mA。
                 測定条件、   「Ep=250V、Eg2=250V、Eg1=−14.5V」
H. 変更回路図。
H11. 修理前。 Plate・Baias Supply Circuit。 「回路図は全てTM11−66247−316−35より引用」
H12. 修理後。 Plate・Baias Supply Circuit。
            平滑回路の電解コンデンサー交換する
H13. 計画中。 Plate・Baias Supply Circuit。 使用電圧100Vで楽に250Vになる。
H21. 修理前。 Screen Supply Circuit。
H22. 修理後。 Screen Supply Circuit、 調整電圧範囲が広まる。
            平滑回路の電解コンデンサー交換する。
H31. 修理前。 Emisson Measurement Circuit。
H32. 修理後。 Emisson Measurement Circuit。
            トランスも幾つかバジョンがあるので、タップ交換で、「AC20V、AC35V」が供給できた。
H41. 修理前。 Leakage Test Circuit。
H42. 修理後。 Leakage Test Circuit。
H51. 修理前。 Short Test Circuit。
H52. 修理後。 Short Test Circuit。
H61. 修理前。 グリッド、プレート回路。
H62. 修理後 発振防止対策、プレート電流測定設定
                    tv-2c-u41
ここに掲載された写真は、その肖像権・版権・著作権等は、放棄しておりません。  写真・記事を無断で商用利用・転載等することを、禁じます。
 Copyright(C) 2026 Amp Repair Studio All right reserved.